聯繫我們

Contact Us

產品型錄

Product of us

電刷圖庫

Carbon Brush

網上購買

B2B.twcb.tw

購買說明

How to Buy

14

Group

若14形式無您所需的型號,請至以下形式查詢:

同類形式 15

相近形式

相關形式

新型設計

一般構造 18

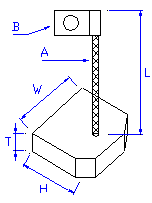
Type T(mm) W(mm) H(mm) L(mm) A B     Grade
14-061315-C6 6 13 15 60 30        
14-071820-C6 7 18 20 40 40        
14-082420-C6 8 24 20 60 40 A5      
14-082422-C6 8 24 22 60 50        
14-082525-C5 8 25 25 60 60 P5      
14-091916-C6 9.5 19 16 60 40        
14-091925-C6 9.5 19 25 60 40        
14-092626-C6 9.5 26 26 60 50 A5      
14-093026-C6 9.5 30 26 75 50 P55      
14-093022-C6 9.5 30 22 60 50        
14-102526-C6 10 25 26 75 50 P55      
14-103022-C6 10 30 22 60 50