聯繫我們

Contact Us

產品型錄

Product of us

電刷圖庫

Carbon Brush

網上購買

B2B.twcb.tw

購買說明

How to Buy

17

Group

若17形式無您所需的型號,請至以下形式查詢:

同類形式

相近形式

相關形式

新型設計

一般構造

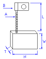
Type T(mm) W(mm) H(mm) L(mm) A B     Grade
17-040510-* 4 5 10 40 8        
17-050514-* 5 5 14 40 8        
17-050614-* 5 6 14 40 8        
17-060616-* 6 6 16 50 8        
17-060416-* 6 7 16 60 8        
17-060716-* 6 7 16 50 8        
17-060816-* 6 8 16 50 8 P4      
17-061016-* 6 10 16 50 10 P4      
17-080816-* 8 8 16 50 10 P4      
17-080916-* 8 9 16 50 12        
17-081020-* 8 10 20 50 12        
17-081220-* 8 12.5 20 60 15        
17-101020-* 10 10 20 60 15        
17-101220-* 10 12.5 20 60 15