聯繫我們

Contact Us

產品型錄

Product of us

電刷圖庫

Carbon Brush

網上購買

B2B.twcb.tw

購買說明

How to Buy

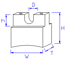
77

Group

若77形式無您所需的型號,請至以下形式查詢:

同類形式

相近形式

相關形式

新型設計

一般構造

Type T(mm) W(mm) H(mm) D(mm) t(mm) h(mm)     Grade